一站式知识产权保护平台
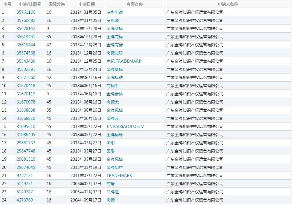
这都已经够震惊的了,更狠的是,申请人这家公司,在前不久还有一件商标同样也下了初审通告,商标名称是“商标注册” 是的,你没有看错,小编我也没有打错字,就是这个名称“商标注册”!
看到这,我简直不敢相信,吓得我赶紧去看来一下商标法相关条例:
那到底这些属不属于通用名称呢?还需要去考量。看到这我就赶紧去了解了一下这家公司,一搜不知道,搜了吓一跳!真的是过分的狠吖,竟然连”商标“都申请注册下来.....
而“专利申请”的商标,也显示的是等待实质审查中!
是不是看到这已经惊掉了下巴,世界真奇妙,但真的不如商标奇妙... 所以,一定要记住,有想法,就要勇于尝试,只要胆子大,一切全握下。 好了,不说了,马上就要过节了,小编在此祝大家中秋节快乐,公司发的礼品,我要赶紧去领啦! 

电话预约在线咨询

电话预约在线咨询

电话预约在线咨询

电话预约在线咨询

