一站式知识产权保护平台

在线客服服务热线:173-2481-0679
新闻动态

小米科技有限责任公司申请注册“日常元素呼哈”商标

更新时间:2022-03-17 11:56:18
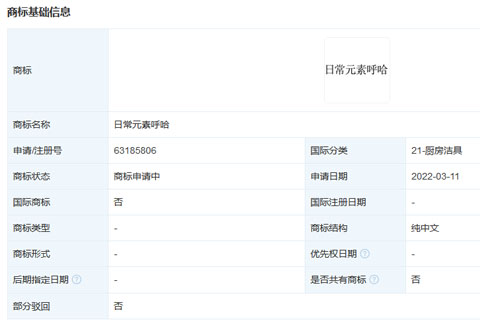
近日据天眼查显示,2022年3月11日小米科技有限责任公司申请注册“日常元素呼哈”商标,其中涉及21类厨房洁具、30类方便食品两个类别,目前商标状态为商标申请中。

近日据天眼查显示,2022年3月11日小米科技有限责任公司申请注册“日常元素呼哈”商标,其中涉及21类厨房洁具、30类方便食品两个类别,目前商标状态为商标申请中。

小米科技有限责任公司申请注册“日常元素呼哈”商标

以上就是关于《小米科技有限责任公司申请注册“日常元素呼哈”商标》相关内容,如果想了解更多相关内容可以关注河南盛世知识产权官方网站。河南盛世知识产权成立于2005年,至今已有17年发展历史,提供商标注册专利申请版权登记高新技术企业认定等多项服务,助力于企业发展。咨询热线:17324810679(微信同步)
本文地址:http://www.sstm100.com/news/hydt/1200.html
一站式知识产权服务

在线
客服

在线客服服务时间:8:30-18:00

客服
热线

173-2481-0679
7*24小时客服服务热线

关注
微信

顶部