一站式知识产权保护平台

在线客服服务热线:173-2481-0679
新闻动态

蜜雪冰城注册申请蜜雪元宇宙、MIXUEMETA商标

更新时间:2021-11-29 14:30:04
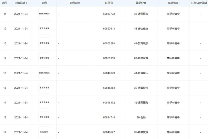
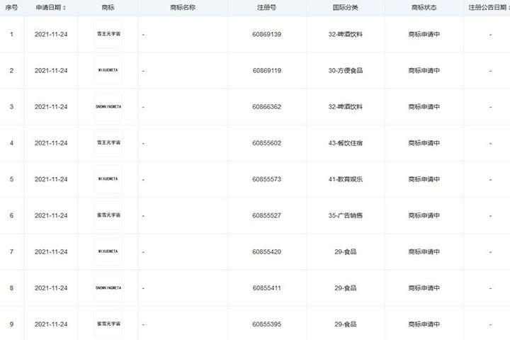
近日据天眼查显示,蜜雪冰城在11.24号注册多个元宇宙商标,其中包含蜜雪元宇宙”“雪王元宇宙”“MIXUEMETA”“SNOWKINGMETA”等多个商标,涉及多个商标类目,目前商标状态均为申请中。

近日据天眼查显示,蜜雪冰城在11.24号注册多个元宇宙商标,其中包含蜜雪元宇宙”“雪王元宇宙”“MIXUEMETA”“SNOWKINGMETA”等多个商标,涉及多个商标类目,目前商标状态均为申请中。

众所周知,蜜雪冰城是国内一家茶饮品牌,曾一度在网络被称为“国茶”。截止目前,蜜雪冰城在国内已开设2万多加门店。

22

23

以上就是关于《蜜雪冰城注册申请蜜雪元宇宙、MIXUEMETA商标》相关内容,如果想了解更多相关内容可以关注河南盛世知识产权官方网站。河南盛世知识产权成立于2005年,至今已有17年发展历史,提供商标注册专利申请版权登记高新技术企业认定等多项服务,助力于企业发展。咨询热线:17324810679(微信同步)
本文地址:http://www.sstm100.com/news/hydt/293.html
一站式知识产权服务

在线
客服

在线客服服务时间:8:30-18:00

客服
热线

173-2481-0679
7*24小时客服服务热线

关注
微信

顶部